Many amateurs are very restricted with the space they have available for HF antennas. I have documented a short antenna for the HF bands, but here is a simple method of mounting it, and a method of further reducing the physical length. I used to use an old CB (27 MHz) half-wave antenna which had a broken matching coil. this I used as a 1/4 - wave antenna for 14 MHz, after removing the matching coil. Today I find that CB antennas have increased in price, so I have found a cheap replacement that can be fitted to the balcony of appartment dwellers.

THE ANTENNA
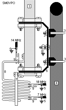
Above is the side view of a bracket, which can be thrown together in a couple of hours and gives surprisingly results. I use six sections for the antenna itself, each of which is 1 meter long. Each section fits inside the previous section by exactly 10 cm. the last section is adjusted so that total length of the antenna is 5.35 meters. This resonates at 14.1750 MHz. I used the following aluminium tubes:-
section 1 : 31 mm Dia. Wall thickness = 2.0 mm. (bottom section)
section 2 : 25 mm Dia. Wall thickness = 2.0 mm.
section 3 : 20 mm Dia. Wall thickness = 1.5 mm.
section 4 : 15 mm Dia. Wall thickness = 1.5 mm.
section 5 : 10 mm Dia. Wall thickness = 1.5 mm.
section 6 : 6 mm Dia. Wall thickness = 1.0 mm. (top section)
This is shown as item (1) in the drawing above.
THE BRACKET (6) & (2)
The bracket screws on to a handrail of the balcony. In my present situation I have a 7 meter wide terrace with a horizontal handrail, but there are four vertical steel pipes supporting the handrail. The bracket is screwed on to one of these vertical supports (4).
The bracket is formed using 3 - 4 mm thick aluminium plate (6) with a 50 mm hole in the center of the top & bottom ends. Bend the plate in two places to prevent the plate becoming weakened. The two ends are each sandwiched in between two nylon blocks (2). Use a chopping board stolen from the kitchen, if you can get away with it. Otherwise, the chopping boards are available from:
IKEA (Sweden)
WOOLWORTHS (UK)
SAFEWAY (USA)
Drill THREE of the nylon blocks, in the center, to fit the 31mm tube (1). The fourth block (bottom) should be drilled with a 5 mm hole to allow water to run out. The bracket is bolted to the balcony handrail, using 35 mm exhaust (muffler) clamps (3).
THE COIL (7) & (8)
This is used to make the antenna resonate at lower frequencies. I wound all my coils using 4mm aluminium wire, but copper hydraulic brake pipe works as well. The coil is 10mm Dia (the same as a tin of DelMonte pineaple chunks)! The coil pitch is 1cm per turn. I used two pieces of plastic conduit (7) to support the coil.
VThe coil uses about 1 meter of wire/pipe for every three turns. Flatten one end and drill a hole in it for connecting it to the antenna pole (1). If you use aluminium wire, then shorter pieces can be joined together with a brass insert from a car cable connector. Copper tube can easily be soldered.FEEDING THE ANTENNA (5) & (9)
Feed the antenna with 50 ohm coaxial cable, braid connected to the bracket (5) and the center conductor connected to an aligator clip. Select the band using the aligator clip (9):-
0 turns = 14 MHz (20 meter band) (VSWR - almost 1:1)
2 turns = 10 MHz (30 meter band) (VSWR - almost 1:1)
6 turns = 7 MHz (40 meter band) (VSWR - about 1.1:1)
51 turns = 3.8 MHz (80 meter band) (VSWR - about 1.4:1)
53 turns = 3.7 MHz (80 meter band) (VSWR - about 1.4:1)
55 turns = 3.6 MHz (80 meter band) (VSWR - about 1.4:1)
57 turns = 3.5 MHz (80 meter band) (VSWR - about 1.4:1)

OTHER INFORMATION
The mounting is very rubust, yet the wind resistance is rather low. Both my antennas have stood up to gale force winds; they hardly wobble!! You do not have to use 5.35 meters of for item (1) if you want to work on other bands, such as 18 MHz. If you intend to use more than 10 watts, then make sure you have a good 1 cm, or more, of insulation between the aluminium pole (1) and the bracket (6).

Here is a photograph of one of the prototypes in my balcony. In the background you can just make out another one of these antennas, but with a bigger (63 turn) coil.


Have fun with this project. Regards from Harry - SM0VPO
Return to INFO page